雙相鋼Y型過濾器產品介紹
雙相鋼Y型過濾器是種器體和中部器蓋由2205、2507或A995 GR. 4A、5A、6A等材質鑄造成型,濾網采用S31803、S32750及S32760等圓孔或方孔篩板卷制的雙相不銹鋼Y型過濾器,由于其材料組織中存在鐵素體和奧氏體相,因此它具備了鐵素體不銹鋼所具有的較高強度、耐氯化物應力腐蝕性能和奧氏體不銹鋼所具有的優良韌性和焊接性能的優點。
雙相鋼Y型過濾器由于其所使用材料本身的特點,從而使它具有較強的抗硫化氫和氯離子腐蝕的能力,含鉬雙相不銹鋼在低應力下有良好的耐氯化物應力腐蝕性能,而且可焊性良好,熱裂傾向小,一般焊前不需要預熱,焊后不用熱處理,可與18-8型奧氏體不銹鋼或碳鋼等異種鋼焊接。本產品主要用以濾除海水、鹽水、鹵水等物料中所含的固體顆粒物。
雙相鋼Y型過濾器部件材料
| 序號 | 部件名稱 | 材料名稱 | ||||
| 1 | 過濾器體 | SAF 2205 | SAF 2507 | A995 GR. 4A | A995 GR. 5A | A995 GR. 6A |
| 2 | 過濾器蓋 | SAF 2205 | SAF 2507 | A995 GR. 4A | A995 GR. 5A | A995 GR. 6A |
| 3 | 濾 網 | 2205 | 2507 | S31803 | S32750 | S32760 |
| 4 | 絲 網 | 2205 | 2507 | S31803 | S32750 | S32760 |
| 5 | 墊 片 | PTFE | PTFE | PTFE | PTFE | PTFE |
| 6 | 螺 柱 | A193 B8M | A193 B8M | A193 B8M | A193 B8M | A193 B8M |
| 7 | 螺 母 | A194 8M | A194 8M | A194 8M | A194 8M | A194 8M |
| 8 | 排污堵頭 | 2205 | 2507 | A182 F51 | A182 F53 | A182 F55 |
雙相鋼Y型過濾器技術規范
| 公稱壓力PN(MPa) | 1.6 | 2.5 | 4.0 | 2.0 | 5.0 |
| 殼體強度試驗壓力(MPa) | 2.4 | 3.75 | 6.0 | 3.0 | 7.5 |
| 氣密性試驗壓力(MPa) | 1.6 | 2.5 | 4.0 | 2.0 | 5.0 |
| 設計制造 | SH/T 3411-1999、HG/T 21637-1991、GB/T 14382-2008 | ||||
| 法蘭標準 | JB/T 79、GB/T 9113、HG/T 20592、HG/T 20615、SH/T 3406、ASME B16.5等 | ||||
| 檢驗試驗 | SH/T 3411-1999、HG/T 21637-1991、GB/T 14382-2008 | ||||
| 過濾精度 | 2目 ~ 600目 | ||||
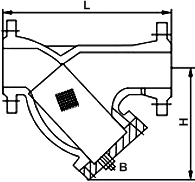
雙相鋼Y型過濾器主要尺寸
| 公稱壓力 Class | 公稱尺寸 NPS | 結構尺寸/mm | 公稱壓力 Class | 公稱尺寸 NPS | 結構尺寸/mm | ||
| L | H | L | H | ||||
| 150 (PN20) | ? | 134±2 | 60 | 150 (PN20) | 5 | 354±3 | 205 |
| ? | 142±2 | 70 | 6 | 393±3 | 260 | ||
| 1 | 152±2 | 70 | 8 | 469±3 | 300 | ||
| 1 ? | 166±2 | 75 | 10 | 538±4 | 380 | ||
| 1 ? | 200±2 | 90 | 12 | 643±4 | 410 | ||
| 2 | 217±2 | 105 | 14 | 682±4 | 480 | ||
| 2 ? | 252±3 | 150 | 16 | 755±4 | 540 | ||
| 3 | 282±3 | 175 | 18 | 853±5 | 580 | ||
| 4 | 311±3 | 200 | 20 | 900±5 | 645 | ||
| 5 | 354±3 | 205 | 24 | 1060±6 | 950 | ||
| 表中未列出的其他規格尺寸,請咨詢汗越閥門技術部! | |||||||
雙相鋼Y型過濾器結構圖

如果你需訂購我廠Y型過濾器產品,咨詢時煩請提供公稱通徑、公稱壓力、殼體材質、濾筒濾網材質及過濾精度、法蘭標準、法蘭密封面形式等,本產品可根據用戶工況需求采用鑄造、鍛造、焊制等工藝制造。
網站首頁