青銅Y型過濾器產品概述
青銅Y型過濾器是一種殼體和濾網蓋等主體部件采用鋁青銅或錫青銅材料制造而成,用于清除流體中固體雜質的管道附件,其工作過程是當流體經過過濾器時,液體中固體雜質受到濾網的阻力及自身重力的作用而沉積于篩網的底部,干凈的濾液則可順利通過濾網從出口流出,當需要清洗時,只需打開法蘭蓋將濾網取出清理網上的雜質,然后重新裝入,讓其繼續工作,從而可以保證管線的正常運行。本產品特別適用于海水、硫酸鹽和各種氯化物溶液等腐蝕性介質的過濾。
青銅Y型過濾器具有很高的綜合力學性能,在海水、硫酸鹽及氯化物等工況環境中均有優良的耐應力腐蝕、耐侵蝕腐蝕、耐空泡腐蝕、耐海生物污損及腐蝕疲憊強度高,其主要用于保護工藝設備與特殊管件(如壓縮機、泵、燃油噴嘴、疏水閥等),防止雜物進入設備、管件損壞部件或堵塞管件,從而影響正常生產運行,起到穩定工藝過程、保障安全生產的作用。
青銅Y型過濾器部件材料
| 部件名稱 | 材料名稱 | |||
| 殼 體 | B148 C95800 | B148 C95500 | B62 C83600 | B150 C63200 |
| 濾 網 蓋 | B148 C95800 | B148 C95500 | B62 C83600 | B150 C63200 |
| 墊 片 | PTFE | PTFE | PTFE | PTFE |
| 濾 筒 | A240 304、A240 304L、A240 316、A240 316L、SAF 2205、SAF 2507 | |||
| 絲 網 | A240 304、A240 304L、A240 316、A240 316L、SAF 2205、SAF 2507 | |||
| 螺 栓 | A193 B8M | A193 B8M | A193 B8M | A193 B8M |
| 螺 母 | A194 8M | A194 8M | A194 8M | A194 8M |
| 排 污 口 | B148 C95800 | B148 C95500 | B62 C83600 | B150 C63200 |
青銅Y型過濾器技術規范
| 公稱壓力Class | 150 | 300 | 600 | 900 |
| 殼體強度試驗壓力(MPa) | 3.0 | 7.5 | 16.5 | 22.5 |
| 密封性能試驗壓力(MPa) | 2.2 | 5.5 | 12.1 | 16.5 |
| 設計制造 | SH/T 3411-2017、HG/T 21637-2021、GB/T 14382-2008 | |||
| 法蘭標準 | JB/T 79、GB/T 9113、HG/T 20592、HG/T 20615、SH/T 3406、ASME B16.5等 | |||
| 檢驗驗收 | SH/T 3411-2017、HG/T 21637-2021、GB/T 14382-2008 | |||
| 工作溫度 | -20℃ ~ 300℃ | |||
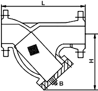
青銅Y型過濾器主要尺寸
| 公稱壓力 Class | 公稱尺寸 NPS | 外形尺寸/mm | 公稱壓力 Class | 公稱尺寸 NPS | 外形尺寸/mm | ||
| L | H | L | H | ||||
| 150 | ? | 134 | 60 | 150 | 5 | 351 | 205 |
| ? | 142 | 70 | 6 | 388 | 260 | ||
| 1 | 152 | 70 | 8 | 468 | 300 | ||
| 1 ? | 168 | 75 | 10 | 540 | 380 | ||
| 1 ? | 200 | 90 | 12 | 640 | 410 | ||
| 2 | 217 | 105 | 14 | 683 | 480 | ||
| 2 ? | 252 | 150 | 16 | 755 | 540 | ||
| 3 | 282 | 175 | 18 | 853 | 580 | ||
| 4 | 309 | 200 | 20 | 900 | 645 | ||
| 5 | 351 | 205 | 24 | 1060 | 950 | ||
| 表中未列出的其他規格參數,請咨詢汗越閥門技術部! | |||||||
青銅Y型過濾器結構圖

訂購我廠Y型過濾器時請在合同中注明公稱通徑、公稱壓力、材質、濾網規格、端部連接形式(法蘭、對焊、承插焊、螺紋等)。本產品主體有鑄造件和鍛件(高壓小口徑)兩種,濾網可根據工況需要選用不銹鋼、雙相鋼及其他材質等。
網站首頁