FT14H杠桿浮球式蒸汽疏水閥產品概述
FT14H杠桿浮球式蒸汽疏水閥是端部為內螺紋連接,并通過凝結水液位的變化,使浮球上升或下降驅動著杠桿帶動閥瓣離開或接觸閥座以達到開啟排水和關閉阻汽的作用。其工作原理是在剛啟動時,自動排空氣裝置處于開啟狀態,迅速排除系統中的不凝結氣體,當蒸汽和熱凝結水進入時,閥腔內溫度隨之升高,自動排空氣裝置內壓室的感溫液體隨之汽化膨脹,內壓室裝置的壓力產生變化而驅使高合金膜片帶動閥瓣關閉排空氣裝置,此時閥腔內的浮球隨水位的變化而自動升降,帶動杠桿調節閥座孔的開度,連續排放凝結水,當凝結水停止進入閥腔時,浮球靠自重隨水位下降,驅使杠桿帶動閥瓣關閉閥座孔,由于閥座孔設在凝結水水位以下,形成水封,保證該閥在工作時,無新鮮蒸汽泄漏。本產品廣泛用于工業蒸汽加熱設備,各種大型熱交換器及干燥機、夾套鍋等,特適用于冷凝水排量大的工作場合。
FT14H杠桿浮球式蒸汽疏水閥部件材料
序號 | 部件名稱 | 材料名稱 | ||||
1 | 閥 體 | A216 WCB | A217 WC6 | A351 CF8 | A351 CF8M | A351 CF3M |
2 | 閥 蓋 | A216 WCB | A217 WC6 | A351 CF8 | A351 CF8M | A351 CF3M |
3 | 浮 球 | A240 304 | A240 304 | A240 304 | A240 316 | A240 316L |
4 | 主 閥 瓣 | A276 440 | A276 440 | A276 304 | A276 316 | A276 316L |
5 | 主閥閥座 | A276 430 | A276 430 | A276 304 | A276 316 | A276 316L |
6 | 杠 桿 | A240 304 | A240 304 | A240 304 | A240 316 | A240 316L |
7 | 彈 簧 | 17-4PH | 17-4PH | A276 304 | A276 316 | A276 316L |
8 | 膜 盒 | A240 304 | A240 304 | A240 304 | A240 316 | A240 316L |
9 | 膜盒閥座 | A276 430 | A276 430 | A276 304 | A276 316 | A276 316L |
FT14H杠桿浮球式蒸汽疏水閥性能規范
公稱壓力PN(MPa) | 1.6 | 2.5 | 4.0 | 2.0 | 5.0 |
殼體試驗壓力(MPa) | 2.4 | 3.75 | 6.0 | 3.0 | 7.5 |
工作壓力(MPa) | ≥0.01 | ||||
設計制造 | GB/T 22654-2008 蒸汽疏水閥 技術條件 | ||||
結構長度 | GB/T 12250-2005 蒸汽疏水閥 術語、標志、結構長度 | ||||
螺紋標準 | GB/T 7306.1、GB/T 7306.2、GB/T 7307、GB/T 12716、ASME B1.20.1等 | ||||
檢驗驗收 | GB/T 12251-2005 蒸汽疏水閥 試驗方法 | ||||
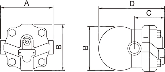
FT14H杠桿浮球式蒸汽疏水閥外型尺寸
公稱壓力 PN | 公稱通徑 DN | 尺寸(mm) | 參考重量 KG | |||
A | B | C | D | |||
16 ~ 40 (Class150)20 | 15 | 121 | 107 | 67 | 147 | 2.8 |
20 | 121 | 107 | 67 | 147 | 2.8 | |
25 | 145 | 107 | 67 | 166 | 4.0 | |
32 | 270 | 147 | 80 | 238 | — | |
40 | 270 | 147 | 80 | 238 | — | |
50 | 270 | 147 | 80 | 238 | — | |
FT14H杠桿浮球式蒸汽疏水閥結構圖

如果你需訂購我廠FT14H杠桿浮球式蒸汽疏水閥產品,咨詢時煩請說明公稱通徑、公稱壓力、殼體和內件材料、工作壓力、工作壓差、凝結水負荷(排水量)kg/h(選用倍率2-3倍)、端部螺紋標準等。
網站首頁